Description RING SET, PISTON (OVER SIZE) (0.75) (NOT AVAILABLE)
Serial Range 1000001 - 1138758
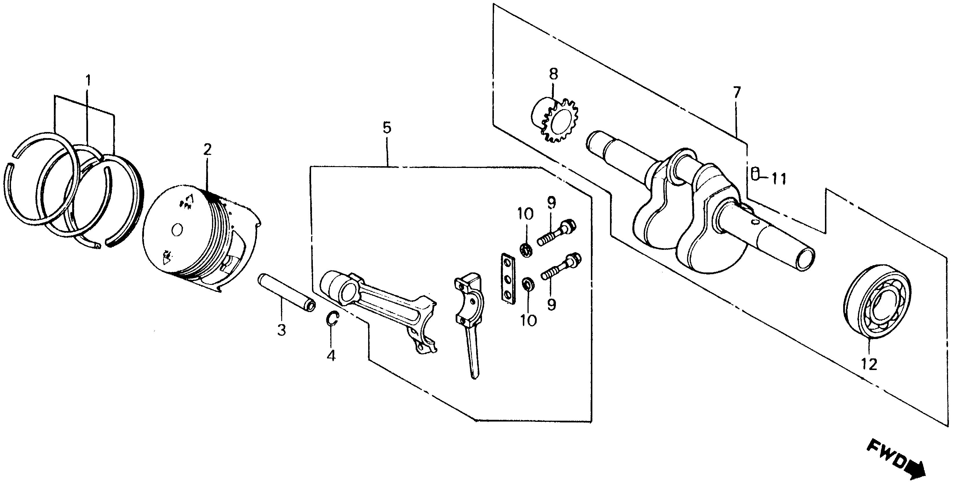
Ref No 1
Part Number 130A1-896-003
Description RING SET, PISTON (STD) (TEIKOKU)
Serial Range 1000001 - 9999999
Qty
Price $45.23
Ref No 1
Part Number 130B1-896-003
Description RING SET, PISTON (0.25) (TEIKOKU)
Serial Range 1138759 - 9999999
Ref No 1
Part Number 130C1-896-003
Description RING SET, PISTON (0.50) (TEIKOKU) (NOT AVAILABLE)
Serial Range 1138759 - 9999999
Ref No 1
Part Number 130D1-896-003
Description RING SET, PISTON (0.75) (TEIKOKU) (NOT AVAILABLE)
Serial Range 1138759 - 9999999
Ref No 2
Part Number 13101-ZA8-000
Description PISTON
Serial Range 1000001 - 9999999
Qty
Price $43.85
Ref No 2
Part Number 13102-892-000
Description PISTON (0.25)
Serial Range 1000001 - 9999999
Ref No 2
Part Number 13103-892-000
Description PISTON (0.50)
Serial Range 1000001 - 9999999
Ref No 2
Part Number 13104-ZA8-000
Description PISTON (0.75)
Serial Range 1000001 - 9999999
Ref No 3
Part Number 13111-892-000
Description PIN, PISTON
Serial Range 1000001 - 9999999
Qty
Price $9.69
Ref No 4
Part Number 13115-147-000
Description CLIP, PISTON PIN (10MM)
Serial Range 1000001 - 9999999
Ref No 5
Part Number 13200-892-305
Description ROD ASSY., CONNECTING (UNDER SIZE 0.25) (NOT AVAILABLE)
Serial Range 1448091 - 9999999
Ref No 5
Part Number 13200-ZG0-000
Description ROD ASSY., CONNECTING (STD)
Serial Range 1448089 - 9999999
Qty
Price $91.97
Ref No 7
Part Number 13310-892-000
Description CRANKSHAFT (NOT AVAILABLE)
Serial Range 1000001 - 9999999
Ref No 8
Part Number 14311-892-300
Description SPROCKET, TIMING (NOT AVAILABLE)
Serial Range 1000001 - 9999999
Ref No 9
Part Number 90001-ZG0-000
Description BOLT, CONNECTING ROD
Serial Range 1000001 - 9999999
Qty
Price $4.93
Ref No 10
Part Number 90456-892-000
Description WASHER, LOCK (NOT AVAILABLE)
Serial Range 1000001 - 9999999
Ref No 11
Part Number 94303-05080
Description PIN, DOWEL (5X8)
Serial Range 1000001 - 9999999
Qty
Price $3.84
Ref No 12
Part Number 96100-62030-00
Description BEARING, RADIAL BALL (6203)
Serial Range 1000001 - 9999999
Item added to your cart
California Prop 65 Information
Internal Combustion Engine Products:
WARNING:
This product can expose you to chemicals including soots, tars, and mineral oils, which are known to the State of California to cause cancer,
and carbon monoxide, which is known to the State of California to cause birth defects or other reproductive harm. For more information go to
www.P65Warnings.ca.gov.
Miimo Robotic Mower
WARNING:
This product can expose you to chemicals including lead and lead compounds, which are known to the State of California to cause cancer and birth defects or other reproductive harm.
For more information go to
www.P65Warnings.ca.gov.